整車環境試驗艙,可以叫整車voc環境艙或者汽車整車環境試驗艙。該試驗艙的目的就是將汽車整車置于環境艙內,根據需要調節艙內的溫度、濕度、關照度、背景等環境條件;在汽車駕駛艙內采樣或進行氣味評估。

為了大家的身體健康,我們平時開的轎車等都需要做這些測試。那做這些項目的意義又是什么呢?
很顯然,和這個意義是非常重大的,因為voc等有害氣體會嚴重影響人們的身體健康。整車環境試驗艙有如下意義:
1.避免人們過多的voc氣體吸入,可以保障人們的身體健康
2.保證廠家能滿足國家的生產標準
3.確保汽車內飾的質量達到要求
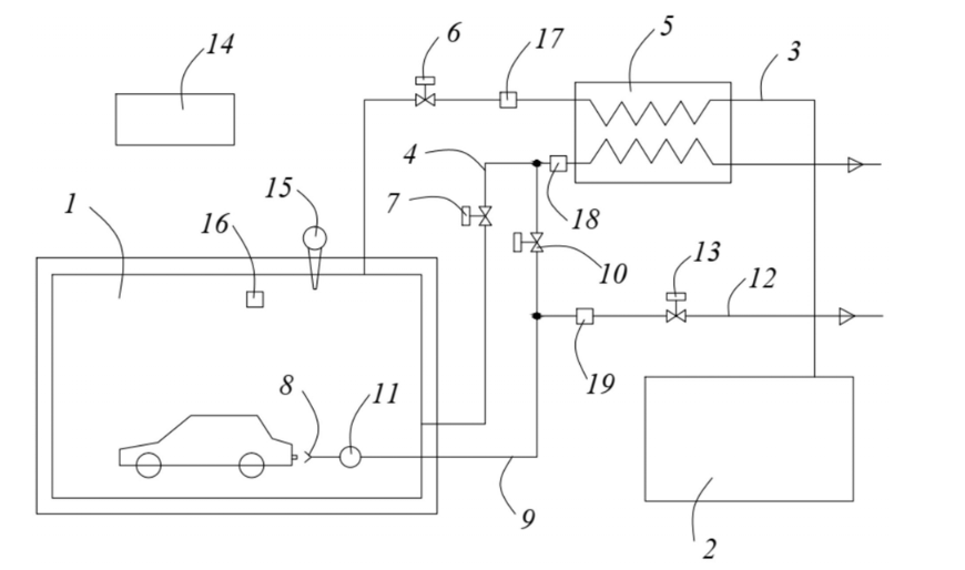
最后,整車環境艙的結構圖是怎樣的呢?在這里,為了方便大家閱讀,我把結構圖簡化了,如下圖:

整車環境試驗艙結構圖解析:
1、整車試驗艙;
2、新風設備;
3、第一管道;
4、第二管道;
5、換熱器;
6、第一閥門;
7、第二閥門;
8、收集器;
9、第三管道;
10、第三閥門;
11、風機;
12、第四管道;
13、第四閥門;
14、、控制中心;
15、壓力傳感器;
16、艙內溫度傳感器;
17、第一溫度傳感器;
18、第二溫度傳感器;
19、第三溫度傳感器
看到這里,相信大家對整車環境試驗艙的目的和意義以及結構都有深入的了解,歡迎各位新老客戶隨時來電咨詢,您一個電話,我們一定給到您想要的滿意答復。歡迎隨時咨詢:153 2293 2685。








